Η Ford ερευνά ένα νέο σύστημα για να επιταχύνει τη φόρτιση των ηλεκτρικών αυτοκινήτων (EV) χρησιμοποιώντας πολλαπλές θύρες φόρτισης ταυτόχρονα. Αυτή η ιδέα περιγράφεται σε μια πρόσφατη αίτηση διπλώματος ευρεσιτεχνίας που υποβλήθηκε από την εταιρεία και δημοσιεύθηκε από το Αμερικανικό Γραφείο Διπλωμάτων Ευρεσιτεχνίας (USPTO) στις 12 Νοεμβρίου 2024. Η αίτηση, που κατατέθηκε αρχικά τον Δεκέμβριο του 2021, προτείνει τη χρήση δύο θυρών φόρτισης, καθεμία από τις οποίες θα φορτίζει ένα ξεχωριστό τμήμα της μπαταρίας του οχήματος.
Δείτε ακόμη: Δοκιμή Ford Explorer – Ηλεκτρικός εξερευνητής
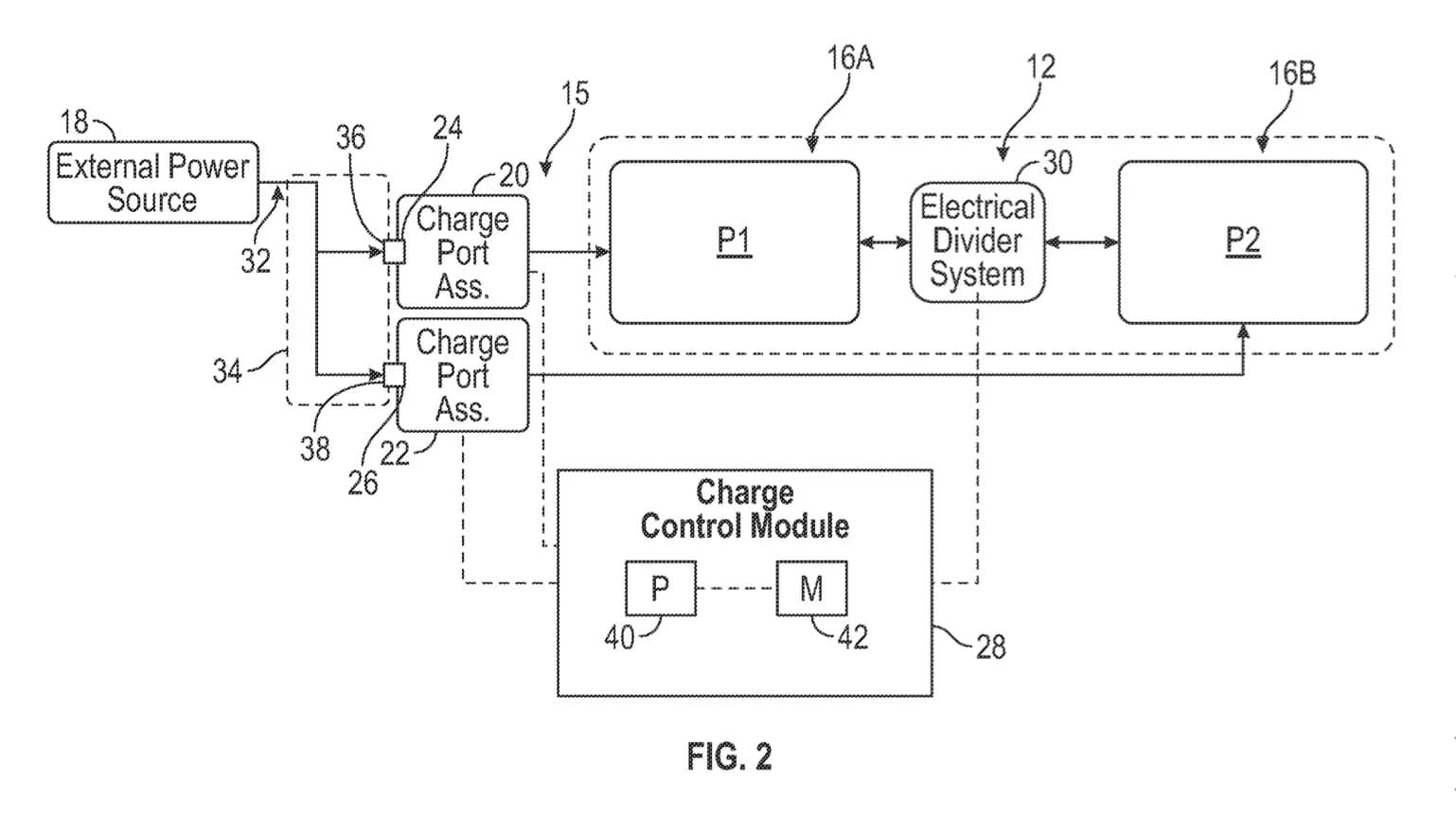
Το σύστημα βασίζεται στην ιδέα του «διαμερισμού» της μπαταρίας, όπου τα διαφορετικά τμήματά της μπορούν να φορτίζονται είτε ξεχωριστά είτε μαζί, ανάλογα με τις ανάγκες. Ένας ειδικός προσαρμογέας θα μοιράζει την ηλεκτρική ενέργεια από μια πηγή στις δύο θύρες, επιτρέποντας ταυτόχρονη φόρτιση. Αυτή η προσέγγιση δεν είναι απαραίτητα παρόμοια με το σύστημα διπλής στρώσης που χρησιμοποιεί η General Motors (GM) σε μοντέλα όπως το GMC Hummer EV και το Chevrolet Silverado EV, όπου δύο ξεχωριστά πακέτα μπαταριών συνδέονται παράλληλα.

Η GM έχει επίσης ερευνήσει παρόμοιες τεχνολογίες, όπως φαίνεται από μια αίτηση διπλώματος ευρεσιτεχνίας του 2022, όπου προτάθηκε η χρήση πολλαπλών θυρών για φόρτιση διαφορετικών τμημάτων της μπαταρίας ή ακόμη και άλλων ηλεκτρικών οχημάτων. Η Ford, από την πλευρά της, έχει συζητήσει παρόμοιες ιδέες σε δικές της αιτήσεις διπλωμάτων ευρεσιτεχνίας. Ωστόσο, η πρόσφατη αίτηση της Ford εστιάζει στη χρήση πολλαπλών θυρών φόρτισης στο ίδιο όχημα, είτε στην ίδια πλευρά είτε σε αντίθετες πλευρές του.
Παρόλο που κάποια ηλεκτρικά οχήματα, όπως το Porsche Taycan και το Audi E-Tron GT, διαθέτουν ήδη διπλές θύρες φόρτισης, αυτές χρησιμοποιούνται κυρίως για ευκολία και δεν υποστηρίζουν ταυτόχρονη φόρτιση. Το νέο concept της Ford, αν εφαρμοστεί, θα ήταν ένα βήμα παραπέρα, προσφέροντας πραγματική ταυτόχρονη φόρτιση και μείωση του χρόνου που απαιτείται για να γεμίσει η μπαταρία. Ωστόσο, δεν είναι ακόμη σαφές αν και πότε αυτή η τεχνολογία θα φτάσει στην παραγωγή.