Mazda MX-5: Έρχεται ηλεκτρικό και ίσως είναι καλύτερο από ποτέ!

Η Mazda ετοιμάζει ένα πλήρως ηλεκτρικό MX-5! Δείτε πώς η καινοτομία στη διάταξη μπαταριών και κινητήρα διατηρεί τον θρύλο ζωντανό

Ακούστε το άρθρο

Το Mazda MX-5 έχει καταφέρει να παραμείνει σχεδόν αναλλοίωτο, για πάνω από μια δεκαετία, αντιπροσωπεύοντας τον αντίποδα των βαριών και εξεζητημένων ηλεκτρικών σπορ αυτοκινήτων. Ο ατμοσφαιρικός τετρακύλινδρος κινητήρας και η εστίαση στην απόλαυση οδήγησης, είναι στοιχεία που αγαπήθηκαν. Όμως, κάτι μεγάλο ετοιμάζεται…

Mazda MX-5: Έρχεται ηλεκτρικό και ίσως είναι καλύτερο από ποτέ!

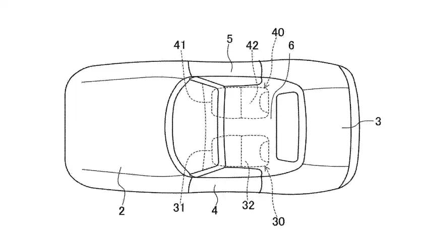
Σύμφωνα με αποκαλύψεις του Auto Express, έχουν κατατεθεί διπλώματα ευρεσιτεχνίας για ένα ηλεκτρικό MX-5, τα οποία δείχνουν μπαταρίες τοποθετημένες μέσα στη σήραγγα μετάδοσης, μια προσέγγιση που θυμίζει τη Lamborghini Revuelto και διαφέρει εντελώς από την κλασική «skateboard» διάταξη των περισσότερων EV.

Mazda MX-5: Έρχεται ηλεκτρικό και ίσως είναι καλύτερο από ποτέ!

Η Mazda φαίνεται να σχεδιάζει ένα πλήρως ηλεκτρικό roadster, χωρίς να θυσιάζει τη φιλοσοφία του Jinba Ittai. Εκτός από τη σήραγγα, οι μπαταρίες τοποθετούνται στρατηγικά εμπρός από το κάθισμα του συνοδηγού και πίσω από τα καθίσματα, μία προσέγγιση που συναντάμε και στο επερχόμενο Porsche Cayman EV.

Mazda MX-5: Έρχεται ηλεκτρικό και ίσως είναι καλύτερο από ποτέ!

Τοποθετώντας τον ηλεκτροκινητήρα ακριβώς πίσω από τα καθίσματα, η Mazda επιτυγχάνει τέλεια κατανομή βάρους και διατηρεί την κίνηση στους πίσω τροχούς. Η συγκεκριμένη διάταξη, προσφέρει επιπλέον αποθηκευτικούς χώρους εμπρός και πίσω, κάτι σπάνιο για roadster και σαφές πλεονέκτημα έναντι του σημερινού MX-5 των μόλις 130 λίτρων.

Mazda MX-5: Έρχεται ηλεκτρικό και ίσως είναι καλύτερο από ποτέ!

Η ισχύς του κινητήρα παραμένει άγνωστη, όμως υπάρχουν ενδείξεις πως θα κινηθεί κοντά στους 180-250 ίππους, ανάλογα με την έκδοση. Με την τοποθέτηση του κινητήρα να επηρεάζει άμεσα τη ροπή αδράνειας, η Mazda δηλώνει πως επιδιώκει υψηλή ευελιξία και απόκριση, βασικά στοιχεία στην οδηγική εμπειρία του MX-5.

Mazda MX-5: Έρχεται ηλεκτρικό και ίσως είναι καλύτερο από ποτέ!

Η μορφή της οροφής θα διατηρηθεί αφαιρούμενη ή πτυσσόμενη, ενώ γίνεται λόγος και για πιθανή έκδοση coupé, όπως είχε εξεταστεί στο παρελθόν. Ένα ηλεκτρικό roadster με αυξημένη πρακτικότητα και διατήρηση της παράδοσης; Ακούγεται σαν όνειρο!

Mazda MX-5: Έρχεται ηλεκτρικό και ίσως είναι καλύτερο από ποτέ!

Το νέο MX-5 EV φαίνεται να μπαίνει σφήνα ανάμεσα σε premium ανταγωνιστές όπως το MG Cyberster και το επερχόμενο ηλεκτρικό Porsche Boxster, αλλά πιθανότατα σε πολύ χαμηλότερη τιμή, ενδεχομένως κάτω από τις €35.638.

Mazda MX-5: Έρχεται ηλεκτρικό και ίσως είναι καλύτερο από ποτέ!

Ωστόσο, η Mazda δεν εγκαταλείπει τη βενζίνη. Η στρατηγική «πολλαπλών λύσεων» συνεχίζεται, με την επόμενη γενιά του MX-5 (NE), να αναμένεται με τον νέο Skyactiv-Z κινητήρα εσωτερικής καύσης. Ηλεκτρικό ή ήπια υβριδικό, το βάρος θα παραμείνει χαμηλό, για να διασφαλιστεί η γνωστή οδηγική απόλαυση. Η Mazda κάνει ξεκάθαρο πως το μέλλον του MX-5, περιλαμβάνει τόσο ρεύμα όσο και βενζίνη και ο μύθος συνεχίζεται, εξελίσσεται και εντυπωσιάζει.

Πηγή: autoexpress.co.uk

Advertisement
Advertisement