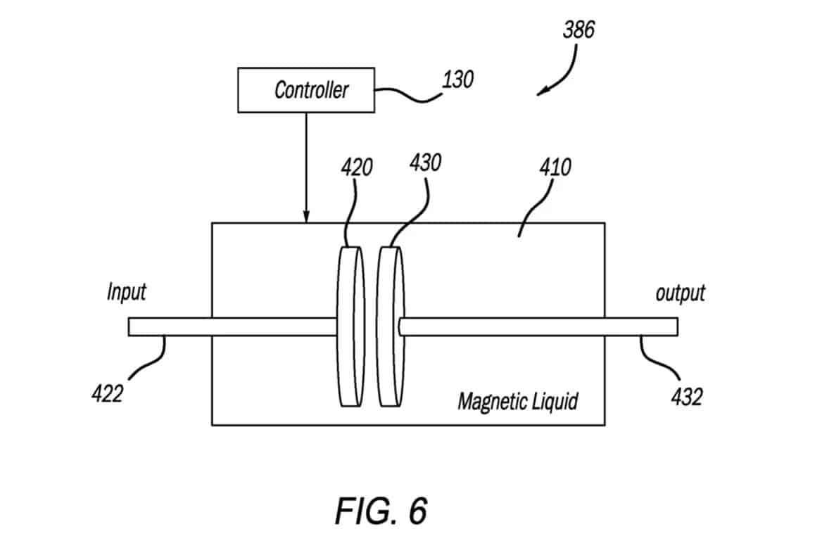
Η Stellantis στοχεύει στην ανάπτυξη κιβωτίων πολλών ταχυτήτων για τη βελτίωση της απόδοσης των ηλεκτρικών οχημάτων, σύμφωνα με μια πρόσφατη αίτηση διπλώματος ευρεσιτεχνίας. Η αίτηση, που δημοσιεύτηκε από το Γραφείο Διπλωμάτων Ευρεσιτεχνίας και Εμπορικών Σημάτων των ΗΠΑ (USPTO) στις 27 Φεβρουαρίου 2025, αλλά κατατέθηκε το 2023, εστιάζει στην προσθήκη μιας δεύτερης ταχύτητας στα κιβώτια ταχυτήτων των ηλεκτρικών οχημάτων. Η τεχνολογία βασίζεται στη χρήση «μαγνητικού ρευστού», το οποίο περιέχει σιδηρούχα σωματίδια που αντιδρούν σε μαγνητικά πεδία, επιτρέποντας πιο αποτελεσματική αλλαγή ταχυτήτων, σε σύγκριση με τους παραδοσιακούς υδραυλικούς συμπλέκτες.

Η αίτηση αναφέρει ότι αυτή η τεχνολογία θα μπορούσε να εφαρμοστεί όχι μόνο σε καθαρά ηλεκτρικά οχήματα (EV), αλλά και σε υβριδικά και plug-in υβριδικά μοντέλα, όπως το Chrysler Pacifica Hybrid και το Jeep 4xe. Παρόμοιες τεχνολογίες έχουν ήδη χρησιμοποιηθεί από τη Mercedes-Benz σε ορισμένα υβριδικά μοντέλα της σειράς AMG.
Δείτε ακόμη: AutoDrive, αυτόνομη οδήγηση επιπέδου 3 από την Stellantis
Αυτή δεν είναι η πρώτη φορά που η Stellantis ερευνά κιβώτια πολλαπλών ταχυτήτων για ηλεκτρικούς κινητήρες. Μια προηγούμενη αίτηση διπλώματος ευρεσιτεχνίας, που δημοσιεύτηκε τον Ιανουάριο του 2024, επικεντρώθηκε σε εφαρμογές εκτός δρόμου και χρησιμοποιούσε διαφορετικό μηχανισμό αλλαγής ταχυτήτων.

Εν τω μεταξύ, η Porsche Taycan παραμένει το πιο γνωστό ηλεκτρικό όχημα παραγωγής που χρησιμοποιεί κιβώτιο πολλαπλών ταχυτήτων. Η Mercedes σχεδιάζει να ενσωματώσει παρόμοια τεχνολογία σε μελλοντικά ηλεκτρικά της μοντέλα, ενώ η Lucid έχει επίσης κατοχυρώσει δίπλωμα ευρεσιτεχνίας, για παρόμοια τεχνολογία. Αντίθετα, η Volkswagen έχει δηλώσει ότι δεν θα ακολουθήσει αυτή την κατεύθυνση, ενώ η Honda ερευνά τη δυνατότητα χρήσης χειροκίνητου κιβωτίου ταχυτήτων με πεντάλ συμπλέκτη, στα επερχόμενα ηλεκτρικά της μοντέλα, με στόχο να προσελκύσει τους λάτρεις των αυτοκινήτων.
Πηγή: greencarreports.com